搜索-防雷MORE+
建筑防雷裝置顧名思義,就是對其建筑做好防雷措施的裝置,那么建筑防雷裝置由哪幾部分組成?建筑物的防雷裝置包括接閃裝置、引下線和接地裝置三個部分。其防雷的原理是通過金屬制成的接閃裝置將雷電吸引到自身,并安全導入大地,從而使附近的建筑物免受雷擊。
2022-10-12
查看詳情>>浪涌保護器,也叫防雷器,是一種為各種電子設備、儀器儀表、通訊線路提供安全防護的電子裝置。當電氣回路或者通信線路中因為外界的干擾突然產生尖峰電流或者電壓時,浪涌保護器能在極短的時間內導通分流,從而避免浪涌對回路中其他設備的損害。以下是有關“浪涌保護器接線圖”的詳細說明。
2022-10-14
查看詳情>>自然災害中閃電的沖擊電流極大,放電時間斷,感應電壓也達到一個極高值,對于各種人員、設施的傷害威脅亟待。其中變電站變壓器事故有三成是雷擊事故,并有逐年上升的趨勢,確保變壓器安全運行必須提高防雷變壓器的防雷可靠性。
2022-10-17
查看詳情>>每年人畜被雷擊的事件時有發生,為增強防雷自護能力,特向大家介紹一些防雷電安全知識小常識。以下是小編整理關于防雷電安全教育的內容。
2022-10-18
查看詳情>>隨著電子信息技術的高速發展,智能設備、信號設備的不斷增加和擴大,使得人們在這些設備時所需要的安全環境顯得尤為重要。在我們生活中常用到浪涌防雷保護器來保護設備安全,今天小編就帶大家來聊一聊浪涌防雷保護器,來了解一下什么是浪涌防雷保護器。
2022-10-20
查看詳情>>家裝有必要裝浪涌保護器嗎—專業
“家庭安裝浪涌保護器真的有必要嗎”相信很多人會與這樣的疑問。事實證明,現如今家庭雷電事故屢見不鮮,安裝浪涌保護器已迫在眉睫。目前時候市場上大量劣質浪涌保護器涌入,許多用戶不知如何選著與判別,這也成為大部分家庭用戶需要解決的一個難題,那么如何才能選擇一款合適的家用浪涌保護器呢?
2022-10-21
查看詳情>>隨著科學技術的發展,電子設備得到了飛速發展。同時,在雷電天氣的隱患又變成了一個問題。因此,防雷設計顯得更加重要。為了阻止雷電帶來的傷害,安裝防雷裝置是必不可少的。那防雷裝置又是什么呢?
2022-10-24
查看詳情>>隨著城市進程的加快,城市的高樓大廈越來越多,人人都想居住在一個安全的環境中,防雷其實在現代生活中是一個非常重要的工作,今天就來跟大家分享一下防雷類別。防雷類別劃分其實一般指的是建筑物防雷雷別的劃分,建筑防雷類別等級越高防雷措施就越嚴格。按照防雷要求,建筑物防雷類別分為以下三類。
2022-10-26
查看詳情>>今天易造官網小編就為大家來普及一下,有關高速公路收費站的防雷基礎知識。高速公路收費站建筑主要由收費棚、辦公管理樓和收費廣場組成,收費棚主要由ETC,MTC出入口車道組成,收費車道機電設備集中安裝在收費島上;辦公管理樓有通訊室、收費電源室、通信系統設備、服務器、交換機、UPS等待設備;收費廣場上有攝像機立柱、高桿燈、可變信息情報板等機電設施。
2022-10-27
查看詳情>>其實在近些年來,智能雷電預警系統是各行各業在防雷工作之中討論的比較多而且很比較火熱的話題。那么你有想過為什么各行各業,尤其像危化行業,如油庫罐區、化工廠、加油站等等都紛紛選擇安裝了智能雷電預警系統呢?
2022-10-27
查看詳情>>一般人不知道!原來地鐵站也是需要防雷的!很多朋友說地鐵在地下,不像在地上的建筑需要采取防雷措施,比如安裝避雷帶、避雷網、避雷針、引線、接地體、均壓環、等電位、浪涌保護器(俗稱避雷器)等。那么事實真的是這樣的嗎?下面讓易造官網小編給大家介紹一下普及一下這個知識。讓我們看看究竟為什么地鐵需要安裝防雷裝置!
2022-10-27
查看詳情>>很多人都知道一分價錢一分貨,那么在雷電預警系統市場上的價格為什么差距如此之大呢?一套雷電預警系統需要多少錢呢?其實在市場上,國內的雷電預警系統的報價范圍大約在2萬至30萬之間,而國外品牌在中國的報價更高,一般在30萬至60萬之間。
2022-10-28
查看詳情>>你知道工廠防雷應該要怎么做嗎?工廠的防雷措施是否需要年檢?像一般的廠房都會安裝防雷措施的,從外部的防雷到內部的防雷,一整套的綜合防雷系統都是需要做的。因為只有這樣才能有效保障廠區的安全生產。下面小編就為大家介紹一下相關情況趕快收藏!
2022-10-28
查看詳情>>小編相信很多人都不知道什么是電壓均衡器,其實電壓均衡器也叫做雷電沖擊裝置、地電位連接器、地極保護器、火花隔離間隙等。電壓均衡器作用是很大的,廣泛應用于各行各業!當下其主要應用于直流1500V牽引供電和直流750V及以下牽引供電的城市軌道交通的高架區間。
2022-10-31
查看詳情>>很多人不知道雷電峰值記錄儀的作用是什么?其實雷電峰值記錄儀是專門為記錄雷電流大小而設計和制造的,它和避雷針和和引下線的配套使用。其被廣泛用于石油化工罐區、機場、風力發電場、景區、避雷塔、超高層建筑、變電站、鐵路接觸網、鐵路站點等行業領域。
2022-10-31
查看詳情>>相信很多人都不知道什么是雷電流記錄儀,更不懂雷電記錄儀原理。那么今天杭州易造小編就為各位來普及一下這個知識點,讓你對雷電記錄儀原理有一個深入的了解。在介紹雷電記錄儀原理之前小編先來介紹一下什么是雷電記錄儀。
2022-10-31
查看詳情>>什么叫地網接地電阻測試儀?相信沒有幾個人知道,因為這畢竟是專業知識。其實它也不復雜,言簡意賅地說就是用于地網接地電阻測試的設備。下面杭州易造小編就為各位來詳細介紹一下吧!
2022-11-01
查看詳情>>什么是地網接地電阻測試儀?其實地網接地電阻測量儀一般是用在超大型、大型、中型地網的接地特性參數測量。運用數字選頻測量(電子對抗)技術,具有很強的抗干擾能力,能有效消除由工頻感應、零序電流、諧波和雜散信號的干擾給測量帶來的誤差;
2022-11-01
查看詳情>>雷擊現象雖然不是時有發生,但是你要清楚這種事情是不能碰到一次的!所以對于一些重要場所安裝雷電預警系統是很有必要的!因為一旦發生雷擊,造成的經濟損失和人員傷害是很大的。像加油站這樣重要的場所,安裝加油站雷電預警系統就真的很重要,如果發生雷擊就很有可能造成火災、爆炸,而且波及范圍特別大!
2022-11-02
查看詳情>>當下的很多景區都對安裝雷電預警系統這件事情十分重視,因為很多景區山勢險峻,尤其是高山景區容易遭受雷擊,如何防止雷擊對游客的傷害成了很多景區急需解決的問題。而安裝景區雷電預警系統無疑是一個很好的主動防雷方式!因為可以提前預警,所以能很好幫助景區管理者解決雷暴天氣的相關工作。下面小編就為大家介紹一下景區雷電預警系統安裝選擇哪家公司?
2022-11-02
查看詳情>>停機坪雷電預警系統怎么選?為什么要安裝停機坪雷電預警系統,近些年來隨著我們國家的國民經濟和城市建設的快速發展,很多城市的高層建筑如雨后春筍般涌現出來,特別是一些城市越來越多的超高層建筑也是紛紛拔地而起,(按照GB50045-95.2005年版的《高層民用建筑設計防火規范》的有關規定,高度超過100米的建筑物就稱之為超高層建筑)。假如其一旦發生火災,在其他救援手段十分困難的情況下,利用直升機到達屋頂可以為撲救火災和疏散人員創造有利的條件。
2022-11-02
查看詳情>>石油倉儲安裝雷電預警系統的作用是什么?因為石油倉儲存放著很多易燃易爆的產品,一旦發生雷擊情況,后果不堪設想!根據以往氣象部門雷擊災害事故統計,32.5%油庫火災是由雷擊造成的,隨著我國石油儲備的加強,防止油庫的雷害事故就更加值得關注,而目前油庫雷電預警系統的安裝是保障石油倉儲安全有效的措施之一。
2022-11-03
查看詳情>>國內外雷電預警系統廠家有哪些?教您選擇雷電預警的3個方法【易造
隨著應急部文件的發布,國內很多油庫陸續安裝了雷電預警系統,同時引起了其他行業的關注,雷電預警系統由之前乏人問津的產品變成了炙手可熱的明星,于是很多地方冒出來各種各樣的雷電預警設備,國內外的都有。
2022-11-03
查看詳情>>根據《全國危險化學品安全風險集中治理方案》,把將雷電預警系統不完善列入了危險化學品生產儲存環節重大安全風險之一,這也說明了雷電預警系統的安裝建設是大勢所趨的。當下眾多危化行業安裝了雷電監測預警系統,一方面是為了讓像油庫罐區這樣的危險場所的安全沒有后顧之憂,而還有一方面是為了積極響應國家的政策,完成雷電預警系統的建設工作。
2022-11-03
查看詳情>>企業安裝雷電預警系統,為安全增添一雙“火眼金睛”【易造
雷電天氣對企業的安全管理和生產建設有著重大的影響,特別是一些危化品行業(油庫、石油罐區)一到每年的雷雨季節,總是嚴陣以待。2022年應急管理部門的《《大型油氣儲存基地雷電預警系統基本要求(試行)》的相關通知發布以后,各大危化品企業、油氣存儲基地等企業公司都紛紛開始安裝雷電預警系統。而企業雷電預警系統地投入使用好比添了一雙“火眼金睛”可以能提前預警監測防雷。
2022-11-04
查看詳情>>根據《全國危險化學品安全風險集中治理方案》,把將雷電預警系統不完善列入了危險化學品生產儲存環節重大安全風險之一,這也說明了雷電預警系統的安裝建設是大勢所趨的。當下眾多危化行業安裝了雷電監測預警系統,一方面是為了讓像油庫罐區這樣的危險場所的安全沒有后顧之憂,而還有一方面是為了積極響應國家的政策,完成雷電預警系統的建設工作。那么我們要怎么找到一個好的雷電預警系統廠家呢?
2022-11-04
查看詳情>>電壓均衡器也叫雷電沖擊裝置、地電位均衡器、地極保護器,主要應用于直流1500V牽引供電和直流750V及以下牽引供電的城市軌道交通的高架區間,主要作用是阻礙牽引供電系統雜散電流對地泄漏,同時也為雷電沖擊電流提供對地泄放通道。那么城市軌道交通電使用壓均衡器的作用是什么呢?
2022-11-04
查看詳情>>雷電預警系統?是當前公認的能大幅降低雷擊傷亡與災害最有效的措施之一,高爾夫球場雷電預警系統能及時、準確地預報當地雷擊活動情況,為企業安全的安全生產管理提供科學的依據。
2022-11-04
查看詳情>>大氣電場儀是用來測量大氣電場及其變化從而實現雷電預警的設備,基于電效應的大氣電場是唯一貫穿于雷電生命期(雷雨云起電、發展、消散等)的各個階段,當雷雨云中的電荷積聚到一定程度時,就會在云與云之間或云與地之間發生閃電。
2022-11-05
查看詳情>>接地電阻?也可以在線監測了!接地是避雷技術非常重要的環節之一,無論是直擊雷或感應雷,最終都是把雷電流引入大地。沒有合理而良好的接地系統是不能可靠避雷的,接地系統的良好與否,直接關系到防雷的效果和質量。
2022-11-06
查看詳情>>能讓你提早發現雷雨臨近的“偵查員”出現了!雷電預警系統【易造
雷電天氣對生產企業來說是件麻煩事,輕則生產停工,重者損壞設備傷害人,造成的損失無法估量。特別是危化品行業(油庫、石油罐區)一到每年的雷雨季節,總是嚴陣以待,煩惱不斷!今年2月份應急部發布了《油氣儲存企業緊急切斷系統基本要求(試行)》的通知后,各大危化品企業、油氣存儲基地等企業公司都紛紛響應,開始安裝雷電預警系統,為企業安上一雙“火眼金睛”,提早獲知雷電臨近,提早做好防御措施,從此被動防雷變成了主動防雷。
2022-11-07
查看詳情>>很多人對電梯井浪涌保護器選型這個問題比較困惑,而電梯井的浪涌保護器作用關乎電梯的安全,所以是一個非常嚴肅的安全問題!那么到底要怎么選呢?今天就和大家聊聊這個電梯井浪涌保護器的問題。
2022-11-07
查看詳情>>浪涌保護器漏電流是越小越好嗎? 0漏電流的SPD有嗎?【易造
我們經常用的由壓敏電阻構成的浪涌保護器都是會有漏電流的問題存在。通常情況,浪涌保護器漏電流越大,更容易造成浪涌保護器的自熱、劣化、縮短使用壽命,情況嚴重還會引起爆炸,造成嚴重的安全事故。
2022-11-17
查看詳情>>雷電峰值記錄儀,主要用于電力系統、能源系統、鐵路系統、氣象和文物古建筑等行業,它能記錄自然雷電流發生的大小、時間、次數、極性等數據,為今后防雷設計改進、雷電事故分析提供數據作為支撐,對于提高設備雷電防護、設備可靠運行改造,雷電峰值記錄儀具有重要的參考意義。
2022-11-07
查看詳情>>因為雷電預警系統的主動預警防雷功能,也是受到了眾多企業單位的親睞。由此,市場也是產生了一些亂象,導致雷電預警系統探頭質量的良莠不齊,不同廠家有不同參數,并且一些廠家還對外宣傳一些不實的說法,所以在此小編為你介紹一下,以免一些不懂但是想要購買的用戶踩坑。那么雷電預警系統探頭場磨式好還是電子式好呢?
2022-11-08
查看詳情>>雷電流記錄儀是一種高精度的雷擊記錄儀器,主要用于對直擊雷進行記錄,包括:雷電流波形、雷擊發生時間、雷電次數、雷電流波形峰值、單位能量值、雷擊極性等。并對數據存儲處理,采集的數據完整性好、準確度高。
2022-11-08
查看詳情>>據國家應急部的要求,目前全國各地危化企業掀起了雷電預警系統安裝的熱潮,監管部門的要求,為危化行業的防雷安全提高了等級,具有非常積極的社會意義和安全意義。由于雷電預警系統是個小眾產品,隔行如何山,其實雷電預警設備在國內已經有將近20年的歷史了,但是因為之前都是氣象部門在使用,很多人并不了解,于是一些人就會有這樣的疑問:雷電預警系統怎么樣?
2022-11-08
查看詳情>>接地電阻在線測試儀哪個廠家生產的好?隨著智能科技的發展,大數據、云計算等先進技術的發展,讓人工智能產業朝著更高更遠的方向發展。伴隨著萬物智能化的進步,雷電安全防護行業也緊隨時代的步伐,開啟了一個新時代。用更加智能的防雷設備,代替人工,減少了雷電災害的發生。
2022-11-08
查看詳情>>江蘇某外資汽車配件公司,專門生產汽車的安全氣囊,庫房內常年存有易燃易爆的材料。為了生產設備以及工作人員的安全,過去是通過工廠內部人員手持美國產的大氣偵測設備,進行現場巡視的方式采集大氣電場數據,用傳統的方法來判斷預測雷擊發生的可能性,以此來判定是否應該繼續生產。
2022-11-09
查看詳情>>易造雷電預警系統大氣電場儀(場磨式)是一種可以實時測量并記錄地面上的靜電場值的氣象儀器,它采用差模測量技術,和市場上采用共模測量的同類產品相比,差模測量技術避免了許多不必要的干擾信號,提供了更準確的測量結果。
2022-11-09
查看詳情>>高壓線路安裝雷電記錄儀這二點很關鍵,看完受益匪淺【易造
高壓線路安裝雷電記錄儀這二點很關鍵,看完受益匪淺!雷電流記錄儀是一種高精度的雷擊記錄儀器,主要用于對直擊雷進行記錄,包括:雷電流波形、雷擊發生時間、雷電次數、雷電流波形峰值、單位能量值、雷擊極性等。并對數據存儲處理,采集的數據完整性好、準確度高。
2022-11-09
查看詳情>>雷電預警系統安裝要求,細節很重要!很多有了解過的人都知道,雷電預警系統能提前5-30鐘發出雷電警報,它如今已經成為了防雷系統之中至關重要的一個環節。并且已經被廣泛應用在各行各業,保護人身安全和設備財產。但是雷電預警系統安裝要求以下這些事,小編不說你可能永遠不知道!
2022-11-09
查看詳情>>雷擊災害是世界公認的難題,特別是在每年的春夏季節6-8月份,更是我國的雷電危害高發期。據統計,我國每年有3000-4000人會因為雷擊造成不同程度的傷害,所以及時準確預警防雷,提前做好防護,是對重要設備、人身安全保護的關鍵。杭州易造雷電預警系統配備有第三代空間電場電荷探測設備,能夠實現對空間中電場強度進行精確測量,通過儀器內部設置的算法計算,能夠實現雷電到來前5-30分鐘內發出預警!
2022-11-10
查看詳情>>易造EJD-3防雷接地電阻測試儀是易造公司10多年致力于接地電阻檢測技術研究的又一高新技術產品,采用氣象行業通用的三線法測量方式,用平均值整流法測量接地電阻,設備可以在后臺設置檢測頻率,實現在線監測。易造接地電阻測試儀還獲得了防爆認證接下來小編就來和你聊聊防爆型防雷接地電阻測試儀參數。
2022-11-10
查看詳情>>能對于不少朋友來說,接地電阻這樣的名詞會有些陌生,但是其實,接地電阻它在我們電路運用中是很常見的,它可以保證我們底下用電的安全,然后,另一方面,我們也都知道,接地電阻的運行需要在很可靠、安全的環境下完成。對于接地電阻的安裝和使用,精度方面要求也是很高的。那么,今天小編就位大家具體介紹接地電阻測試儀的要求吧。
2022-11-10
查看詳情>>國內有些星級旅游景區為了營造更好的旅游環境,保護游客的安全,尤其是許多景點山勢陡峭,特別容易遭受雷擊,景區管理部門于是安裝了雷電預警系統。景區雷電預警系統的安裝無疑是一種很好的主動防雷方式!圍繞著雷電預警發出的信息,景區工作人員可以進行有條不紊的工作安排,不再像過去那樣驚慌失措了。隨著景區防雷規范的出臺,將會有越來越多的景區要安裝雷電預警系統,易造小編在這里和大家分享幾點安裝景區雷電預警的注意事項。
2022-11-10
查看詳情>>國家應急部門把將雷電預警系統的不完善列入了危險化學品生產儲存環節重大安全風險之一,于是很多油庫紛紛響應管理部門的倡導,安裝雷電預警系統。但目前市場上良莠不齊的產品紛紛冒出來,作為用戶,當然想要找一個可靠的設備,不但是為了驗收,更重要的是為了安全,在危化行業,安全問題一直是重中之重!接下來,易造小編給大家分享購買雷電預警系統可能會踩到的3個坑,希望對您有幫助。
2022-11-11
查看詳情>>隨著科技智能化的發展,許多企業選擇采用雷電預警系統對雷電實時監測,不僅減少了雷電帶來的損失,還避免了人員傷亡。如果您的企業正在選購,還不知道該在哪購買雷電預警系統,小編為您推薦杭州易造專業雷電預警系統生產廠家,在我們選擇雷電預警系統時,如果既想要品質保障還想要劃算就一定要選擇專業的雷電預警系統生產廠家。
2022-11-11
查看詳情>>盤點長陽雷電預警系統公司哪家好?99%人都不知道【易造
長陽是土家族自治縣,西高東低的地形,導致地勢復雜,加上它又屬于亞熱帶大陸夏季炎熱潮濕氣候區,氣候溫和、潮濕多雨,這些因素也是導致長陽縣雷電天氣時有發生。但是隨著防雷意識的提升,很多企業和個人也是選擇安裝雷電預警系統主動防雷,告別了以往的被動式防雷!
2022-11-11
查看詳情>>眾所周知市場上面一分錢一分貨,那么什么原因造成雷電預警系統的市場價格相差十萬八千里呢?事實上,在市場上,國內的雷電預警系統的價格范圍約為2萬至20萬,而國外品牌的價格一般更高,會在30萬至60萬這個區間。當下用戶害怕買到便宜的劣質產品的同時,確實也負擔不起一些昂貴品牌的價格。其實只要了解影響雷電預警系統價格的因素,就能選擇合適自己的產品!
2022-11-11
查看詳情>>自從GB/T7317-2019的發布以來,電壓均衡器受到了眾多用戶的關注,它是防雷家族的一位新成員!電壓均衡器也叫做防護火花間隙、地電位差均衡器、地極保護裝置,主要用在1500V直流供電的軌道交通的高架段,它的作用是隔離高架橋雜散電流收集網(鋪在軌道下面,由很多線纜組成,也叫回流線纜)與大地的電氣連通,同時為雷電沖擊電流提供對地泄放通道。那么被越來越多人關注的電壓均衡器,它因為什么原因而受到關注呢?
2022-11-13
查看詳情>>傳統被動式防雷和主動式防雷區別?居然這么大!如今不管是生活還是工作,對電子設備相當依賴,而這些智能電子設備一旦遇到雷雨天雷擊的侵擾,那么其中的集成電路很容易受到電涌的侵害,所以需要我們做出保護。假如電子設備出現故障,輕則造成生產停工、網絡中斷,交通受阻,重則會造成生命安全和巨大經濟損失。
2022-11-13
查看詳情>>在當下的自然災害之中,雷電對各行各業都有很大的影響,特別是風電行業,因為當風力發電機在正常發電運行期間,如遭受雷擊帶來的不僅僅是設備的損壞,還會造成大量的停工時間。國際標準IEC TR61400-24中的統計表明,由于雷擊造成的風力發電機停工時間(這個停工時間主要是由電氣系統的檢修期、配件的定購期和運輸期等造成的),是風力發電機各種故障中停工期最長的故障。風電場雷電預警系統要怎么買?易造小編為您分享6點。
2022-11-14
查看詳情>>雖然雷擊是小概率事件,但是一旦發生讓人防不勝防,損失嚴重。那么我們如何更好的做好防雷工作呢?伴隨智能化發展,一款可以記錄雷電流數據的設備誕生了,它就是雷電流記錄儀。雷電記錄儀對研究雷電特性、分析雷電事故、探索防雷計劃有著極其重要的作用。
2022-11-14
查看詳情>>遠安隸屬于湖北省宜昌市,因地勢層巒疊嶂,又屬于大陸季風性氣候區,雨量充沛,而這也是遠安地區雷電天氣比較頻繁的原因之一。而雷電預警系統作為能有效提前預警防雷的設備,自然也成為了遠安雷電預警系統公司的首選。
2022-11-14
查看詳情>>當下有很大一部分的人覺得浪涌保護器只不過是一個開關元件,常常會忽視它的作用,并且在購買它的時候往往是哪里便宜哪里購買,但是你要知道其實這個小小的元器件,背后卻隱藏著重大玄機。看完本章,你就會明白。
2022-11-14
查看詳情>>油庫雷電預警系統價格受這幾點影響,一般人真不知道!【易造
從2006年以來,國內因為雷擊造成的油庫安全事故屢見不鮮,這也給像油庫這也的危化品行業帶來了眾多壓力。而雷電預警系統是可以主動提前避開雷擊的有效措施,所以《全國危險化學品安全風險集中治理方案》,把將雷電預警系統列入了其中。那么油庫雷電預警系統價格怎么樣?下面為你帶來詳詢介紹!
2022-11-15
查看詳情>>雷電預警系統組成為什么要用大氣電場儀?給您最全的解答【易造
雷電探測技術有很多,像磁場探測技術、射頻探測技術、光學探測技術等,那么雷電預警系統組成為什么要用大氣電場儀呢?因為大氣電場儀是目前被大家公認的探測大氣電場變化的有效設備之一。
2022-11-15
查看詳情>>高鐵對于現代人們來說是越來越重要了,可以說不可或缺,是目前我們日常生活工作中會優先選擇的交通方式。而你知道嗎?其實對于高鐵來說,信號與電力傳輸是非常重要的!雷電是一種能量極大破壞了極強又不可控的自然現象,對高鐵來說,存在著很大的安全隱患!我們除了完善高鐵外部和內部的防雷設施之外,在高鐵運輸系統中安裝雷電預警系統也是很關鍵的。下面就來給您介紹一下,為什么高鐵雷電預警系統一定要安裝?
2022-11-15
查看詳情>>油罐等儲油設備是風險防控的重點領域,因為油罐區都有運輸和存儲工作任務,特別是到了春夏季雷雨天氣頻發,雷電預警系統可以幫助企業提前知道雷電的臨近,提前做好避雷措施,確保罐區作業的安全。油罐企業要按照《落實大型油氣儲存基地安全風險管控措施工作方案》完成“一庫一策”的雷電預警系統設計部署,那么罐區安裝油罐雷電預警系統施工要注意哪些?
2022-11-15
查看詳情>>浪涌保護器相信很多人都了解,但是很多用戶認為浪涌保護器只有防雷作用,并且生活中雷擊是小概率事件,所以浪涌保護器的選擇無關緊要。于是在一些項目建設選浪涌保護器時,不做任何要求,導致大量劣質浪涌保護器被使用到各種項目中,同時給電網運行埋下了重大安全隱患。
2022-11-16
查看詳情>>雷電對風電行業有著不可承受之重,如果風電設備遭受雷擊,帶來的不僅僅是設備的損壞,還會造成大量的停工時間以及人員傷害,風電場雷電預警系統是目前防雷行業的新星,因其獨特的主動防雷功能越來越得到重視,那么風電場雷電預警系統如何選擇呢?易造小編帶您了解3點,讓你不踩坑買到心儀的雷電預警設備。
2022-11-16
查看詳情>>大氣電場儀雷電預警系統的價格是多少?知道這2點不吃虧!【易造
大氣電場儀雷電預警系統?是主動防雷的重要設備,目前除了它,還沒有第二個設備可以做到提前預警雷電。因此,雷電預警系統也受到了相關行業的重視,尤其是危化行業,紛紛安裝雷電預警器。有些用戶不知道購買大氣電場儀雷電預警系統的價格是多少?易造小編來為分享以下2點,讓您了解后不吃虧。
2022-11-16
查看詳情>>現在雷電監控預警系統被廣泛用在各行各業,特別是石油危害、電力、交通、民航、通訊、氣象、旅游景區等行業,因為雷電監控預警系統的使用,也是大大提高了雷雨天的安全,降低了雷擊造成的各種損失,有效提前預警防雷!
2022-11-16
查看詳情>>風電場一般都建設在高山空曠地區,環境相對孤立、空曠,且往往地土壤電阻率較高,極易遭受雷擊,造成的損失以及檢修帶來的發電損失不可估量,還有戶外工作人員的人身安全等等,因此風電場的雷電防護是每個風電業主很關心的問題。安裝雷電預警系統讓風電場安上一雙“千里眼”,在雷電臨近時提前做好準備,避免遭受雷擊傷害!如何選擇好的風電場雷電預警系統呢?易造小編在這里為您介紹,讓您2分鐘選到好的風電場雷電預警器。
2022-11-17
查看詳情>>選擇油罐雷電預警系統,這3點要提前知悉!根據《落實大型油氣儲存基地安全風險管控措施工作方案》,油罐雷電預警系統的安裝勢在必行的!因為像油罐雷電預警系統是風險防治的重點區域,油罐區每天都有運輸和儲存油汽的任務。特別是到了春夏季節,雷雨天更頻繁,時刻影響到生產安全,雷電提前預警的功能真是太重要了!易造小編為大家分享以下3點,讓您無憂選擇油罐雷電預警系統。
2022-11-17
查看詳情>>眾所周知機場的安全是重中之重,所以防雷減災工作是非常有必要的。飛機場因為涉及到飛機的起飛和降落,以及飛機的加油等相關作業,加上空曠地勢原因是極容易遭受雷電侵擾的。所以我們必須要把雷擊這個重大的自然安全隱患扼殺在搖籃之中。那么機場雷電預警系統的選擇要注意哪些點?下面小編為你詳詢介紹一下。
2022-11-18
查看詳情>>顧名思義,接地電阻在線監測儀就是能實時在線監測建筑物接地電阻值變化的測量設備。它的誕生是基于通信技術的發展,在雷電安全防護日益重視的今天,它開始變成了防雷家族的主要力量,目前我國有多份標準在制定,不久的將來,接地電子在線監測儀將被大量使用,但是很多人對于這個產品并不了解,今天易造小編來為大家分享接地電阻在線監測儀的有哪些作用?
2022-11-18
查看詳情>>接地電阻監測儀可在線監測防雷裝置接地網阻值,通常采用精密三線法測試接地電阻。隨著大數據、云計算等先進通信技術的發展,傳統的防雷設備也得到了升級,其中接地電阻在線測試儀就是其中一種升級版防雷設備。需要購買的用戶會有這樣的疑問:接地電阻在線測試儀哪個廠家好呢?下面易造小編來為大家做一個接地電阻在線測試儀廠家指南,希望對您有幫助。
2022-11-18
查看詳情>>近年來國家大力發展和支持旅游業,黃山風景作為中華十大名山之一,同時作為國家AAAAA級旅游景區,每年到這里游玩的中外游客數不勝數。但是黃山風景區因為地勢原因導致群山環繞、峰巒疊嶂,并且海拔很好,而這樣的環境容易受雷電侵擾,嚴重影響游客的生命安全。黃山景區是最早安裝雷電預警系統的景區之一,那么黃山景區的雷電預警系統有什么特點呢?下面易造小編來為大家介紹關于黃山景區雷電預警系統特點。
2022-11-18
查看詳情>>當下石油化工企業儲存設施的自動化水平越來越高,傳統人工作業已經逐漸被時代所淘。當下的智能設備都是電腦監控、電腦管理,數據傳輸應用更是越來越普遍。但是雷電會影響這些設備,一旦發生危害后果不可想象!所以,安裝化工雷電預警系統尤為重要!因為雷電預警系統能夠在雷電發生初期,準確預測雷電發生時間,從而采取預防措施,使工作人員能夠及時做好防雷措施,防患于未然。
2022-11-19
查看詳情>>接地電阻測試儀的使用范圍——清楚范圍,“對癥下藥”!【易造
相信大家都聽說過接地電阻測試儀,可能對它也有些許了解。接下來,為大家講解一下接地電阻測試儀的使用范圍。
2022-11-20
查看詳情>>雷電預警系統好處,廠家有話要說!當下的氣象系統是由多普勒雷達和衛星提供大范圍、長時間的雷電預警。而對于想要在短時間內的小區域雷暴在何時何地發生,進行準確預報是沒有辦法做到的。所以造成了局部的雷暴云預警處于空白階段,而這種情況有著很大的安全隱患。
2022-11-21
查看詳情>>當下有一些人不理解,天氣預報都有的雷電預報,但是危化企業為什么還要安裝智能雷電預警系統呢?并且國家相關部門相繼出臺了GB/T38121-2019雷電防護-雷暴預警系統、《大型油氣儲存地雷電預警系統基本要求(試行)》等文件通知和標準,要求石油化工等危化行業安裝雷電預整系統。下面就帶您深入了解一下,智能雷電預警系統!
2022-11-21
查看詳情>>一般的風力發電機通常選擇安裝在丘陵或山脊上,因為這里的地勢遠高于周圍的地形,加上風力發電機安裝地點土壤電阻率一般都較高,對雷電流的傳導性能相對較差,所以風電發電機組常受雷電侵擾,更易受到直擊雷、側擊雷和感應雷的襲擊。而據國家能源局的數據顯示,截至2020年年底,我國新增風電裝機容量7167萬千瓦,風電累計裝機規模達到281.72GW。所以,風電的防雷形勢是相當嚴峻的,風電浪涌保護器可以解決風電的雷電侵擾嗎?
2022-11-22
查看詳情>>當下的雷電流記錄儀被廣泛用于眾多行業,它可用于像電力、能源、鐵路、氣象、文物建筑、避雷塔等記錄自然雷電流數據,同時它適合用來與避雷帶或避雷器進行配套使用。為雷擊事故報告、雷擊事故應急處理、防雷設計改進等,提供一個數據的參考依據,對改進設備防護方法、提升設備可靠運行具有極大的意義。
2022-11-22
查看詳情>>雷電對大型油品儲罐主要有三個方面危害,首先是雷電會引發油庫火災或人身傷害等安全事故,其次是雷擊會造成供電的中斷,引發生產過程中斷電、設備失靈等生產事故,最后可能會造成過度防御造成停工,影響生產作業效率。那么為什么說大型油品儲罐雷電預警系統是主動防雷的好幫手呢?
2022-11-22
查看詳情>>雷電監測預警系統是公認有效的主動防雷設備,在整個防雷體系中有著舉足輕重的地位。據統計,我國32.5%的油罐火災是由雷擊造成的,最近國家有關部門倡導危化行業使用雷電預警系統,原油罐區雷電預警系統的安裝能加強防災管理,成為大勢所趨,今后雷電監測預警系統將成為危化行業的標配了。
2022-11-22
查看詳情>>隨著應國家應急部的規定,國內各地危化企業掀起了安裝雷電預警系統的風潮,我們最近也收到了許多用戶的咨詢,為了保障安全,你是不是也在挑選雷電預警系統呢?不知道雷電預警系統哪里賣?
2022-11-23
查看詳情>>隨著接地裝置使用的材料被腐蝕,接地體安裝工藝不良,或者因為外力的破壞,接地線被盜等等原因,都是有可能讓接地線斷線,使接地電阻阻值增大。當接地電阻過大時,就會導致三相負載不平衡,相電壓上升使設備被損壞,更會讓接觸相關設備的人有觸電的危險。而在線監測接地電阻測試儀可以有效解決這些問題,它可以實時監測接地電阻的大小,防止因為阻值增大而造成的重大人員傷亡和財產損失。
2022-11-23
查看詳情>>目前氣象系統是以多普勒雷達和衛星提供長時間、大范圍的雷電預報。暫無手段對短時小區域雷暴在何時何地發生進行準確預報。造成局部的雷電、雷暴云預警、預報處于空白階段,這種局部雷暴對各個重點行業具有很大的危害。因此,雷電臨近預警系統應運而生,它可以有效的完成局部雷暴的報警功能。下面易造小編來為大家介紹。
2022-11-23
查看詳情>>儲油罐雷電預警系統必須要安裝嗎?確實,一定要!因為前車之鑒不是沒有,像99年8月27日凌晨,浦東高橋上海煉油廠遭雷擊,105號浮頂油罐(儲油量2萬噸)被雷擊中起火;1998年7月13日下午武漢市黃陂縣石油總公司橫店石油儲庫遭受直擊雷擊,爆炸起火。種種案例說明了安裝儲油罐雷電預警系統是勢在必行的!
2022-11-23
查看詳情>>隨著通訊技術的發展,防雷技術也能逐步數字化,企業對接地安全也愈發重視視,性價比好的接地電阻測試儀,成為保證地網安全必不可少的設備,采用接地電阻測試儀對地網實時監測,不僅減少了人工費,測試數據也更準確,更穩定。你是不是也在挑選性價比好的接地電阻測試儀呢?小編為您推薦杭州易造專業接地電阻測試儀廠家,在我們選擇接地電阻測試儀時,想要性價比好的接地電阻測試儀,一定要選擇專業的接地電阻測試儀廠家。
2022-11-25
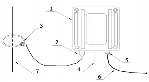
查看詳情>>簡述接地電阻測試儀的作用!接地電阻測試儀是一種電阻測量設備,主要用于電力、電信、氣象油田、建筑、防雷及工業電氣設備等的接地電阻、土壤電阻率、接地電壓、交流電流、漏電流測量。但是不同型號或者不同環境使用的電阻測試儀都是有很大區別的。
2022-11-24
查看詳情>>根據“聯合國國際減災十年”公布的最嚴重的十種自然災害之中,雷電災害就在其中。世界范圍內,每年因雷擊造成的事故和損失不計其數。據不完全統計,中國每年因雷擊造成的傷亡達3000到4000人,財產損失在50億到100億人民幣。而雷電預警系統被公認為預警防雷的“神器”,下面就為您介紹一下雷電預警系統哪里需要?
2022-11-24
查看詳情>>石化企業在生產過程之中會經常使用和儲存大量易燃易爆的危險物品,一旦遇到雷暴惡劣天氣危險就會陡然增加!而且石化企業生產區有很多高大的化工裝置,并且地勢空曠,這樣雷擊風險就會變得更高,石化企業雷電預警系統就顯得尤為重要。
2022-11-24
查看詳情>>電壓均衡器也叫地極保護器,是一些特殊行業(石油化工、軌道交通等)特殊場合才用到的防雷設備,市場需求相對其他防雷設備來說并不大,因此能做電壓均衡器的廠家也很少。除了國內品牌,市場上也有國際品牌,但是銷量都不大。雖然是小眾產品,但是其安全性能要求很高,用戶不能貪圖便宜買到不合格的產品。下面易造小編來為您梳理幾點,希望對您有幫助。
2022-11-24
查看詳情>>隨著科學智能化的發展,企業對接地安全也越來越重視,智能在線接地電阻測試儀,成為保證地網安全必不可少的設備。接地是安全的基礎,也是各種電氣設備可靠穩定運行的前提,但不少企業仍存在人工檢測數據不穩、接地地網地下銹壞脫落或挖斷發現不了等情況。面對這些情況智能在線接地電阻測試儀可以完美解決。
2022-11-25
查看詳情>>市面上雷電預警系統價格為什么差別那么大?雷電預警系統多少錢一套?市面上國內雷電預警系統報價范圍在2萬多到30萬不等,而國外品牌在中國的報價會更高一些,一般在30萬-60多萬。因此大家對于雷電預警系統價格總是捉摸不透,買貴怕被坑,買便宜怕買到劣質產品,下面我們就來看看影響雷電預警系統價格因素都有哪些吧!
2022-11-26
查看詳情>>隨著電子技術高速發展,給人們帶來了很多便利,但也帶來了一些負效益,例如抗雷擊能力降低,在1989年8月12日上午,中國石油總公司黃島油庫遭雷擊發生特大爆炸事故,19人死亡,100多人受傷,直接經濟損失3540萬元;1998年7月13日下午,遭遇直擊雷雷擊,造成庫區油罐爆炸,燒毀0號柴油125噸及1000m3柴油罐1座,造成重大經濟損失。由此可見,防雷是多么重要!雷電預警值目前危化行業普遍在使用的防雷設施,雷電預警系統的選址和安裝非常重要,關系到后期的使用效果,易造小編接下來為大家介紹。
2022-11-25
查看詳情>>雷電預警系統是如何監測雷電的?資深廠家專業為您在線解答【易造
雷電預警系統是如何監測雷電的?對此很多人抱有疑問如今小編就來科普下呢,近年來,受雷電災害的危害程度不斷加劇,由此對社會產生的影響和經濟損失也越來越大。因此,做好雷電活動的有效監測、預測和研究,對于防雷減災工作的順利推進,具有十分重要的現實意義,那如何做好雷電預測呢,我們首先想到的是雷電預警器。
2022-11-25
查看詳情>>
































































































